管道離心泵啟動故障及處理方法(管道泵的安裝示意圖)精選
日常生活的ISG立式管道離心泵普遍的啟動故障有轉子故障、轉子晃動大、電動機啟動負載過大、出現異常發燙、液態緣故。今天上海管道離心泵廠家帶大家一起來了解管道離心泵啟動故障及處理方法。
一、轉子故障:

轉子是離心泵的關鍵構件,也是非常容易發生故障的一部分。普遍的轉子故障有:轉子不平衡、轉子軸力、轉子彎折、轉子與電機定子磨擦、轉子不對中等水平。
1、是轉子不平衡的難題,離心泵機器設備中,一般是一個轉子有一根驅動軸,另加好幾個轉盤構成。因為每一個轉盤都是有存有品質軸力的很有可能,依照這類方法推理,2個之上的轉盤,就很有可能在離心泵運作時就很有可能將多簡諧運動的品質軸力轉換為一個,或這好幾個矢量素材,從而產生轉子不平衡的難題。轉子不平衡對離心泵的一切正常工作中危害是:工作效能低、振動大、噪聲大。
2、是轉子軸力難題。轉子往往會產生軸力是由于電機定子與轉子中間沒有產生內切圓,旋轉全過程中造成一階頻率振動,另外因為液體不平衡,產生離心葉輪與葉子中間的振動。
3、是轉子彎折的故障難題。一般來說,轉子產生彎折故障是因為長期性停止使用,轉子的物理學特點發生了轉變。相對性的,轉子彎折也分為二種狀況,一種是短暫性彎折,一種是長期散去。短暫性彎折是能夠修理的,緣故也許是由于離心泵所遭受的負載很大,暖機不充足,轉速比過快等;而彎折是不能修理的,緣故可能是設計方案曲線圖,或是在長期性停車中受寒遇熱比較快速。
4、轉子不對中產生的故障。連軸器、傳送健身運動和轉距中間因為安裝差值,或是運行狀態時冷時熱,或因為安裝后的形變及以及基本不均勻沉淀,造成離心泵轉子中間的中線造成誤差。轉子不對中的狀況下不斷運行,會導致離心泵使用壽命減少,損毀概率擴大。
5、轉子與電機定子中間的磨擦事故障。轉子在旋轉過后中一旦與電機定子造成磨擦,便會導致共震,震幅忽然擴大,噪聲持續上升。磨擦對轉子的危害是致命性的。
二、轉子晃動大:
離心泵的工作中運作需要轉子,可是常常存有轉子晃動過大的難題,轉子晃動過大,一般是由于實際操作發生難題導致的,此外也有均衡管不順暢或是不平衡造成轉子晃動。這類故障在離心泵故障中較為普遍,還需要工作員嚴格的依照有關的實際操作規范開展標準、科學研究、有效的實際操作。關鍵針對均衡盤的品質做好剖析與查驗,必需時還需要對均衡盤開展拆換,隨后做好均衡管的輸通工作中。
三、電動機啟動負載過大:
離心泵啟動很有可能會產生無法啟動的難題,那樣足夠表明離心泵在啟動全過程中發生了故障。導致離心泵無法啟動的原因是好幾個層面,普遍的有汽車發動機和開關電源未一切正常進到運行狀態、離心泵的枚舉法閘閥未獲得關掉,泵身體有堵塞物,或是離心泵添料過度緊湊型缺乏平衡感,均衡管啟動以后也未關掉。這種全是導致離心泵無法啟動的緣故,存有啟動故障有關工作員一定要對故障的緣故開展定期檢查剖析。掌握故障的種類,而且采用有目的性的處理對策,降低故障產生的頻率。
四、出現異常發燙:
離心泵在工作中全過程中很有可能存有出現異常發燙的狀況。這類故障關鍵是由于密封圈發生了難題,離心泵泵殼的內部存有臟東西而且在泵身體也有汽體,造成轉子不平衡難題的造成。這種故障的發生,務必規定工作員對密封圈作出查驗立即拆換發生難題的密封圈,若是泵殼的內部有汽體,務必將汽體清理。若是轉子不平衡,就需要立即的尋找均衡點。那樣才可以更改離心泵出現異常發燙難題。
五、液態緣故:
次之液態緣故,一般說白了的液態緣故全是只發生了氣蝕現象,實際上狀況立即造成離心泵震動力度的提升。
離心泵故障確診的方式
離心泵在工業化生產全過程中應用的范疇比較普遍,在不一樣的領域上都很有可能開展應用,可是產生故障的概率也較為高,緣故是各個方面的。為了更好地可以對離心泵故障難題開展確診和剖析,小編根據實踐活動獲知能夠選用的方式有結集數據信號方式和預備處理的方式,這二種方式相對性于別的方式而言更為可以信賴,而且還能夠對數據信息做好信息化管理解決,產生一個立體式的圖型,便于工作人員對故障的種類開展鑒別。
比較常見的震動數據信號故障清理方式也是有許多,比如普遍的有頻譜分析方式,震動超標準統計分析方法及其樞軸統計分析方法這些。頻譜分析方式便是在頻域范疇之中,將數據信號轉化成頻帶數據信號,隨后再開展實際的科學研究。離心泵運作必定造成震動,震動數據信號或是是噪聲數據信號,這種都能夠在頻域范疇以內做解決。在了解了離心泵故障特點數據信號以后產生圖象。比如,一些阻尼振動歸屬于單一的正弦波,那麼在一切正常運行狀況下,數據信號的表述便是錯亂的波型情況構造,這也需要對頻帶的基本原理有各個方面地認知能力和了解。
ISG管道離心泵故障解決對策
1、離心泵負載過大的解決對策
離心泵在運作時,假如發生了負載過大的狀況,那麼有關的維修人員就需要對于難題造成的直接原因,采用有目的性的處理對策,那樣才可以確保機器設備的防護性運作。工作員需要對離心泵的開關電源路線也有傳動裝置做防護大檢查的工作中,若是發生了難題,務必立即做拆換解決。此外按時的對離心泵的別的工業設備做好查驗,尤其是自動排氣閥和天料閥,這彼此之間做好再次的啟動才可以防止邊料工作壓力過大的狀況發生,從而也降低了離心泵運行負載過大的難題,確保其防護系數。
2、 離心泵出現異常發燙解決對策
離心泵在具體運行全過程中,常常會發現異常發燙的故障,發生這類故障需要工作員做好密封圈部位的查驗工作中,而且對運作發生故障的的密封圈做拆換解決,還能夠應用能力的電子產品對離心泵開展排氣管查驗,假如自動排氣閥內有汽體,那麼就需要把汽體做排盡解決,防止汽體持續的提升離心泵更為發燙。設備維護工作人員還需要對離心泵內部的轉子尋找均衡檢驗支點,降低因為轉子不平衡造成的出現異常發熱現象。各個方面的檢驗和檢修才可以防止離心泵在運作全過程中有發燙的難題,推動離心泵運行防護性和平穩。
講完了管道離心泵啟動故障及處理方法后,現在請大家在接著往下看小編為大家帶來的管道泵的安裝示意圖介紹。
管道泵是進出水口都位于同于直線、進出水口大小和高度相同,電機和葉輪可拆除的立式離心泵,故又名管道式離心泵。管道泵因為進出水口大小和高度相同,相對安裝比較簡單,維護不用拆除管路等系列優點而被廣泛用于建筑和工業生產領域。
管道泵分為兩種:立式單級管道泵和立式多級管道泵,安裝示意圖和安裝管閥附件都一樣。
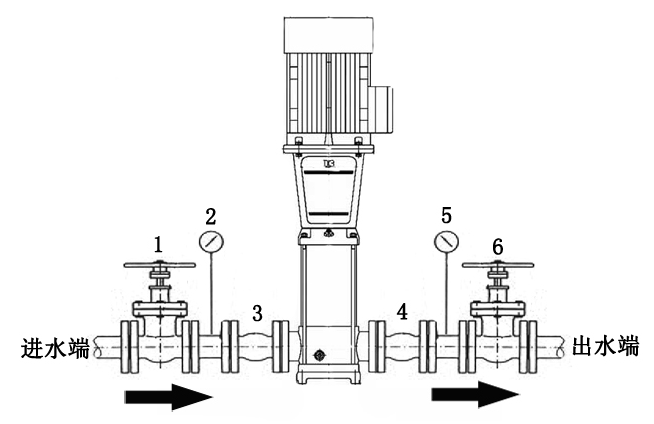
一、立式單級管道泵安裝示意圖

安裝附件:1、6為進出水閘閥,2、5為指針壓力表,3、4為進出水軟接,如果管道泵需要自動運行,需要在泵的出水口安裝壓力傳感器(配合水泵自動控制柜)和單向閥。需要注意的是:比較小的立式單G管道泵可以臥式安裝,太大的不能,防止轉子太重偏心運行。
二、立式多級管道泵安裝示意圖

安裝附件:1、6為進出水閘閥,2、5為指針壓力表,3、4為進出水軟接,如果管道泵需要自動運行,需要在泵的出水口安裝壓力傳感器(配合水泵自動控制柜)和單向閥。
好了,以上內容由上海沈泉為大家提供,希望能夠對大家帶來不小的幫助。若是還想了解更多的相關泵類知識,可持續關注本站了解更多相關知識。
本文標題: 管道離心泵啟動故障及處理方法(管道泵的安裝示意圖)本文地址:http://m.zhanzhangnet.com/QA/642.html
技術服務
推薦產品

- ISG立式管道離心泵
上海沈泉泵閥制造有限公司為您提供:ISG立式管道離心泵的性能參數表,安裝尺

- ISW臥式管道離心泵
上海沈泉泵閥制造有限公司為您提供:ISW臥式管道離心泵的性能參數表,安裝尺

- SPG立式屏蔽管道離心泵
上海沈泉泵閥制造有限公司為您提供:SPG屏蔽管道離心泵的性能參數表,安裝尺

- CQB-L磁力立式管道離心泵
上海沈泉泵閥制造有限公司為您提供:CQB-L磁力管道離心泵的性能參數表,安裝





