立式管道泵安裝示意圖-立式多級離心泵安裝示意圖精選
立式管道泵安裝示意圖-立式多級離心泵安裝示意圖
管道泵是單吸單級或多級離心泵的一種,因有具有出色的增壓性能和遠距離運水能力,故而被用戶廣泛的應用在城市水務系統和暖通空調等領域。用戶若是能夠了解管道泵的安裝示意圖,那么對于管道泵以后的日常拆裝檢修維護是很有幫助的,為此上海沈泉管道泵廠家就為大家整理出了以下內容,大家請跟小編一起來了解下吧。
一、立式單級管道泵安裝示意圖:

立式單級管道式增壓泵的安裝方式:進出水同直線,進水端可接水池,也可以接市政水管。
二、立式多級管道泵安裝示意圖:

立式多級管道式增壓泵的安裝方式:進出水同直線,進水端可接水池,也可以接市政水管。
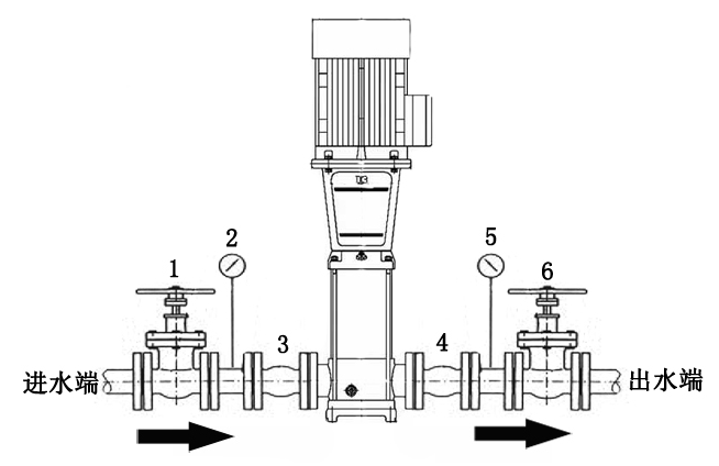
三、立式多級離心式增壓泵安裝示意圖:

立式多級離心式增壓泵的安裝方式:下進上出,進水端可接水池,也可以接市政水管。
上述幾款泵的安裝輔助配件及作用原理都是一樣的,為了方便大家理解閱讀,小編將其整理在一處。詳情如下:
1、進水閥門:方便檢修調試。
2、進水壓力表:觀察水源。
3、進水軟接:減少震動,方便安裝。
4、出水軟接:減少震動,方便安裝。
5、出水壓力表:觀察水壓。
6、出水閥門:方便檢修調試。
備注:如果進水端從低于水泵的地下水池吸水的,需要加裝底閥,部分場合可能需要真空引水裝置。
以上便是對于立式管道泵和立式多級離心泵安裝示意圖的內容介紹了,希望能夠對大家有所幫助。若是大家認為介紹的不夠全面或是還有其他疑問的,可聯系沈泉站內客服進行詳細的咨詢。
本文標題: 立式管道泵安裝示意圖-立式多級離心泵安裝示意圖本文地址:http://m.zhanzhangnet.com/QA/913.html
技術服務
推薦產品

- ISG立式管道離心泵
上海沈泉泵閥制造有限公司為您提供:ISG立式管道離心泵的性能參數表,安裝尺

- ISW臥式管道離心泵
上海沈泉泵閥制造有限公司為您提供:ISW臥式管道離心泵的性能參數表,安裝尺

- SPG立式屏蔽管道離心泵
上海沈泉泵閥制造有限公司為您提供:SPG屏蔽管道離心泵的性能參數表,安裝尺

- CQB-L磁力立式管道離心泵
上海沈泉泵閥制造有限公司為您提供:CQB-L磁力管道離心泵的性能參數表,安裝





